近日,上海 —— 纳芯微电子(简称“纳芯微”)发布全新双通道半桥栅极驱动芯片NSD3602-Q1系列,提供2路半桥驱动,可驱动1路直流有刷电机或者1-2路电磁阀。NSD3602-Q1适合用于车身应用中多电机或多负载场景,如车窗升降、电动座椅、门锁、电动尾门和比例阀等。新推出的NSD3602-Q1是对纳芯微现有NSD360x-Q1系列的补充,NSD360x-Q1系列还包括4通道和8通道的半桥驱动产品。

产品特性
◆ 宽工作电压:4.9V – 37V(最大值40V)
◆ 2通道半桥栅极驱动
◆ 可配置时序充放电电流驱动(CCPD),优化EMC性能
◆ 集成电荷泵实现 0~100% PWM
◆ 集成1路可编程宽模运放
◆ 低功耗模式
◆ 两种版本:SPI 版本支持16位 10MHZ SPI通信;硬件版本支持IO独立配置,减少MCU IO
◆ 全面的诊断保护功能
◆ 工作温度:Tj=-40°C~150°C
◆ 封装形式:VQFN32
◆ AEC-Q100认证

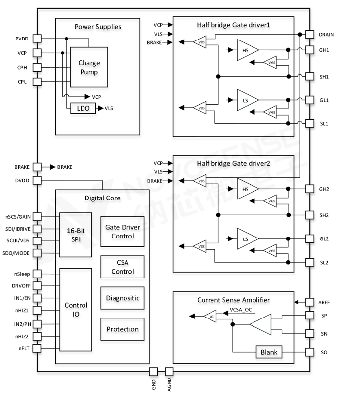
NSD3602-Q1功能框图
可配置时序充放电电流驱动(CCPD):优化EMC性能
由于车身应用中执行器的位置特殊性,例如电动尾门和天窗非常靠近车身天线,这就对相应的电机驱动提出了较高的EMC要求:驱动器即使在PWM工作时也拥有较低的辐射及传导干扰(RE/CE) 。
为了应对这些挑战,NSD3602-Q1提供了可配置时序充放电电流驱动(CCPD: Configurable Charge/Discharge Current Profile Driver)。NSD3602-Q1可以根据外部负载(MOSFET)的参数和应用需求,同时实现2路半桥独立时序电流PWM驱动,电流型驱动也不再需要外部门级电阻和GS/GD电容。
如下图所示,NSD3602-Q1的CCPD模块将MOS导通/关断过程分为三个阶段:预充电/预放电阶段、充电/放电阶段、尾放电阶段(导通只有两阶段),所有阶段的持续时间和驱动电流独立可配置。

CCPD驱动时间示意图
宽模运放:精准电流检测,简化BOM
NSD3602-Q1内部集成了1个高性能差分放大器 (CSA),通过测量外部采样电阻上的差分电压来测量电流,CSA模块支持可编程增益和偏置、宽共模、双向输入、消隐 (blanking) 和采样保持 (sample & hold) 功能,通过CSA模块可以实现精准和灵活的电流采样,节省客户BOM。
全面的诊断保护功能,提升系统可靠性
NSD3602-Q1 集成了全面的诊断保护功能,如实时电源及电荷泵电压监控,实现全功能的欠压过压诊断保护(DVDD UV, PVDD OV, PVDD UV 和VCP UV)、驱动模块监控实现VGS及VDS诊断保护、实现运行和关闭状态下负载的开路、短路诊断(内置了上下拉电流源,从而实现off状态下负载检测)、过热报警及过热保护、CSA过流诊断、看门狗、睡眠模式和工作模式下的刹车保护功能等。所有诊断保护功能支持SPI配置或者信息读取,也支持独立的PIN脚实现IO状态输出。
NSD3602-Q1集成的刹车保护功能,可有效抑制外部机械作用力(如人为拉拽、拖拽)导致的电压骤升,从而防止MOS管因过压损坏。这一功能在侧滑门、电动踏板、尾门撑杆等应用中尤为关键,可降低因误操作或突发冲击引起的系统故障风险,提升整体可靠性。

选型与封装
除了NSD3602-Q1,纳芯微还提供NSD3604/8-Q1,以满足不同通道数的需求。NSD3602/4/8-Q1系列支持 2/4/8 路半桥驱动,具备高集成度和设计灵活性,适用于多电机或多负载应用,助力客户选型。
关于纳芯微
纳芯微电子(简称纳芯微,科创板股票代码688052)是高性能高可靠性模拟及混合信号芯片公司。自2013年成立以来,公司聚焦传感器、信号链、电源管理三大方向,为汽车、工业、信息通讯及消费电子等领域提供丰富的半导体产品及解决方案。
纳芯微以『“感知”“驱动”未来,共建绿色、智能、互联互通的“芯”世界』为使命,致力于为数字世界和现实世界的连接提供芯片级解决方案。 了解详情及样品申请,请访问公司官网:www.novosns.com











