2025年4月15日,致力于亚太地区市场的国际领先半导体元器件分销商---大联大控股宣布,其旗下诠鼎推出基于高通(Qualcomm)Snapdragon S7+ Sound Gen 1平台的TWS耳机方案。

图示1-大联大诠鼎基于Qualcomm产品的TWS耳机方案的实体图
近年来,TWS耳机凭借其无线连接、轻便携带、高音质等特性,迅速成为音频设备市场的重要组成部分,并逐渐取代传统有线耳机,成为消费者的主流选择。与此同时,随着蓝牙技术、芯片技术和传感器技术的不断成熟,TWS耳机的市场规模持续扩增,据相关数据显示,2024年前三季度,全球TWS耳机出货量约为2.57亿台,其中第三季度出货量达0.92亿台,实现了15%的同比增幅,展现出巨大的发展潜力。在此背景下,大联大诠鼎基于高通Snapdragon S7+ Sound Gen 1平台推出TWS耳机方案,结合高性能、低功耗计算、终端侧AI和先进的连接能力,为制造商快速开发差异化产品提供有力支持。

图示2-大联大诠鼎基于Qualcomm产品的TWS耳机方案的场景应用图
S7+ Gen 1是首款支持高通扩展个人局域网(XPAN)技术和超低功耗WiFi连接的音频平台,能够在家庭、楼宇或园区扩展音频传输距离,并支持高达192kHz的无损音乐品质,为用户带来前所未有的听觉享受与音频体验。
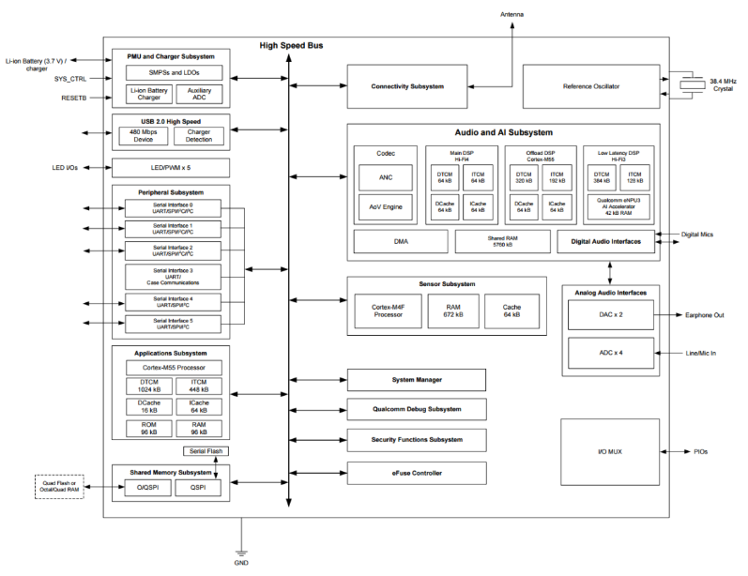
S7+ Gen 1平台由QCC7226和QCP7321两颗IC共同协作构建而成。其中,QCC7226作为主控芯片,负责运行用户应用、蓝牙协议处理、DSP音频数据处理以及AI算法平台的运作;而QCP7321则作为协处理器,专门提供WiFi传输功能,并通过SPI接口与主控芯片进行数据收发。在性能方面,S7 Pro Gen 1的计算能力是前代平台的6倍,AI性能更是前代平台的近100倍,能够以低功耗带来全新层级的超旗舰性能。

图示3-大联大诠鼎基于Qualcomm产品的TWS耳机方案的方块图
此次大联大诠鼎推出的TWS耳机方案深度融合了Qualcomm的技术优势,不仅满足用户对高清音质、长续航、低延迟的核心需求,更通过创新的设计思路,实现更加智能的交互体验与个性化的功能,进一步拓宽TWS耳机的应用场景与边界。
核心技术优势:
- 第四代ANC降噪;
- 无感切换蓝牙WiFi链路,XPAN支持全屋覆盖;
- Hi-res音频,支持lossless audio96k;
- AI算法增强功能;
- 超低功耗设计。
方案规格:
- 多核协作,处理倍增:
- 采用Arm Cortex-M55内核,主频1x300MHz,支持FPU;
- 传感器Arm Cortex-M4F内核,主频1X200MHz,支持FPU;
- 人工智能:Qualcomm eNPU 64 GOPS DSP:2×500MHz + 1×250MHz。
- WiFi规格:
- 1×1双频2.4/5 GHz,支持802.11a/b/g/n标准;
- 高达28.9Mbps的11n MCS3 HT20数据传输速率。
- 支持IPv4/IPv6、TCP、UDP和TLS 9;
- 内置128Mb FLASH;
- 支持蓝牙共存;
- 支持USB高速(480Mbps)设备;
- 软件提供多种组合配置,灵活搭建各形态蓝牙音频产品。
本篇新闻主要来源自大大通:
基于Qualcomm S7 Pro Gen 1平台TWS耳机方案
如有任何疑问,请登陆【大大通】进行提问,超过七百位技术专家在线实时为您解答。欢迎关注大联大官方微博(@大联大)及大联大微信平台:(公众账号中搜索“大联大”或微信号wpg_holdings加关注)。
关于大联大控股:大联大控股是致力于亚太地区市场的国际领先半导体元器件分销商,成立于2005,今年喜迎20周年,总部位于台北,旗下拥有世平、品佳、诠鼎及友尚,员工人数约5,000人,代理产品供应商超过250家,全球69个服务据点,2024年营业额达新台币8,805.5亿元。大联大开创产业控股平台,专注于国际化营运规模与在地化弹性,长期深耕亚太市场,以「产业首选 ‧ 通路标竿」为愿景,全面推行「团队、诚信、专业、效能」之核心价值观,连续24年蝉联「全球分销商卓越表现奖」肯定,同时持续致力于强化ESG永续发展,连续3年荣获国际肯定,MSCI ESG评级A级殊荣。面临新制造趋势,大联大致力转型成数据驱动(Data-Driven)企业,建置在线数字平台─「大大网」,并倡导智能物流服务(LaaS, Logistics as a Service)模式,协助客户共同面对智能制造的挑战。大联大从善念出发、以科技建立信任,并以「共创伙伴价值 ‧ 成就未来」为企业宗旨,期望与产业「拉邦结派」共建大竞合之生态系。











