随着元器件和软件控制的成本越来越低,数字电源成为一种常用解决方案,用于在极为复杂的设计中解决控制多个电压的难题。 但是,数字电源也面临着自身的挑战,特别是将其添加到现有设计中时。 此外,数字控制增加了对固件开发的需求,模拟电路设计人员过去通常不愿意进行这种开发。
本文将简要概述数字电源控制的优势,然后定义两种数字控制方法。 第一种是“数字包封”方法,它仍然依赖于模拟稳压器。 第二种是全数字设计解决方案。 接下来,本文还将介绍如何充分利用最新数字电源 IC 功能来设计稳定的电源,提供更快的瞬态响应时间、更大的带宽和更出色的整体性能。
模拟技术的使用效果很好:为什么要采用数字技术?
模拟技术长期主宰着开关式 DC/DC 转换器(稳压器)设计领域,因为它们相对简单,而且实现成本很低。 但是,模拟设计也有其缺陷,其中一个明显问题就是控制回路补偿非常复杂。
数字设计提供了替代方法,特别是在支持数字电源所需的元器件在价格、尺寸和功耗方面均有所降低的情况下。 数字元器件让设计人员能够对电路控制进行微调,从而增强瞬态响应,最大程度地提高能效。
实际上,问题可能更加复杂,特别是一家芯片供应商对“数字电源”的定义可能与其他供应商有所不同。 有些供应商将该技术定义为带有数字接口的电源解决方案,它可充分利用电源管理总线 (PMBus) 协议提供的功能,并配合使用“数字包封”解决方案中的模拟控制回路; 而有些公司则坚持认为数字电源是采用微处理器或数字信号处理器 (DSP) 的全数字控制回路。
这两种技术都有各自的缺陷:如果使用数字包封技术,您将仍然面临控制回路补偿的难题,这一难题或许正是您一开始想要解决的;而如果使用全数字解决方案,设计人员可能需要进行大量编码工作,才能让数字电源系统投入运行。 不过,新一代数字电源控制器和模块有望同时解决数字包封和全数字解决方案各自的难题。
添加数字包封
为现有模拟拓扑添加数字电源可以带来诸多优势。 其中一大优势就是可以通过系统管理总线 (SMBus) 使用 PMBus 协议简化双向通信。
PMBus 是使用数字通信总线与电源转换系统进行通信的标准协议。 PMBus 基于 SMBus 开发,SMBus 设计用于低带宽设备通信,PMBus 则用于电源、元器件、电源相关芯片(例如可充电电池子系统)的数字化管理。
SMBus 本身也是基于内部集成电路 (I²C)、串行、单端计算机总线的,最初由 Philips 设计,用于将低速外围设备连接到主板或其它嵌入式系统。 由于这种基础,PMBus 是一种相对低速的双线通信协议。 但是,与 SMBus 和 I²C 不同,PMBus 定义了大量的域特定命令,而不仅是详细规定如何使用由用户定义的命令进行通信。
2005 年 3 月,PMBus 规范 1.0 版发布。 随后又发布了经过修订的 1.3 版。 该版本减少了使用高速通信的延迟,还添加了专用的自适应电压调节 (AVS) 总线,用于对处理器电压进行静态和动态控制。 该标准由系统管理接口论坛 (SM-IF) 所有,可以免费使用。
使用支持 PMBus 的器件进行电源转换,可提供传统模拟电源系统无法实现的灵活性和控制能力。 在设计中采用数字电源,我们可以通过使用 PMBus 协议的主控制器,轻松管理输出电压的调节、电源定序、多电压轨的同步(图 1)。 (有关用于数字电源的 PMBus 的更多信息,请参阅资料库文章《使用 PMBus 进行数字稳压器控制》。)

图 1:通过使用 PMBus 协议的 SMBus 进行双向通信,可实现对多个电源器件的配置、控制和监视。 (来源:Intersil)
此外,通过使用 SMBus 和 PMBus,我们可以轻松为电源管理系统添加新的电压轨。 既无需重新编程,也不必添加更多独立电源管理 IC,电压轨的添加非常方便,而且可以轻松集成到监控、定序、裕量和故障检测方案中。
市面上有很多可通过数字方式配置和控制的开关稳压器。 例如,Microchip 的 MIC24045 就是一款可进行数字编程的 5 A 同步降压 (“buck”) 稳压器,输入范围为 4.5 V 至 19 V,适用于多电压轨应用。 各种参数可通过 I2C 进行编程,例如输出电压、开关频率、软启动斜率、裕量、限流值和启动延迟。 此外,MIC24045 还可通过 I2C 接口提供诊断和状态信息。
虽然 SMBus 和 PMBus 为适当连接的模拟电源提供了数字配置、控制和监控方面的便利性和灵活性,但这种数字包封解决方案缺少全数字控制,因而无法实现该方法的全部优势。 连接到总线的每个模拟器件根据其自身的控制回路工作,回路决定了器件的稳定性和频率响应,进而决定其他某些因素,例如电源能够以多快速度对负载的快速变化做出响应。 (请参阅资料库文章《了解开关稳压器控制回路响应》。)
设计人员经常需要修改模拟电源的控制回路,通过添加补偿网络,改进稳定性和频率响应。 (请参阅资料库文章《设计补偿器网络以改进开关稳压器频率响应》。) 这项工作会让很多缺乏经验的电源设计人员望而生畏。 但是,我们可以通过转而使用全数字解决方案,来避免这项工作。
最大限度地发挥全数字电源的优势
全数字解决方案的实现不仅要使用由 SMBus 和 PMBus 协议实现的数字配置、控制和监视功能,还要为连接到总线的各个稳压器实现数字控制回路。
数字控制的原理非常简单。 在模拟稳压器中,控制回路的基本工作方式就是比较实际输出电压与所需输出电压之间的误差。 而在数字稳压器中,模数转换器 (ADC) 可将误差电压转换为数字值。 此转换的精度取决于 ADC 的分辨率,但即便分辨率不太高,其结果也很可能比模拟比较器的测量结果更加精确。 ADC 的分辨率越高,稳压器的控制就越好。
除了 ADC 之外,还使用比例积分微分 (PID) 处理器来替代模拟器件的补偿器网络。 PID 处理器是在很多闭环控制流程中使用的智能器件。 PID 处理器通过持续调节稳压器的数字脉宽调制器 (PWM) 芯片产生的脉冲串的占空比,使用数字误差电压读数来校正稳压器的输出。 PID 处理器必须承担补偿控制回路周围的增益和相移因素的任务,正如补偿器网络在模拟器件中所做的那样。
与模拟 PWM 相同,数字 PWM 也会产生可变宽度驱动脉冲,但其方法是先“计算”形成方波输出信号的开关周期的预期持续时间,然后再按此时间进行“定时”。 相反,模拟 PWM 的工作方式是在时钟转换时触发开启,当固定电压“斜坡”达到预设的跳闸电压时触发关闭。
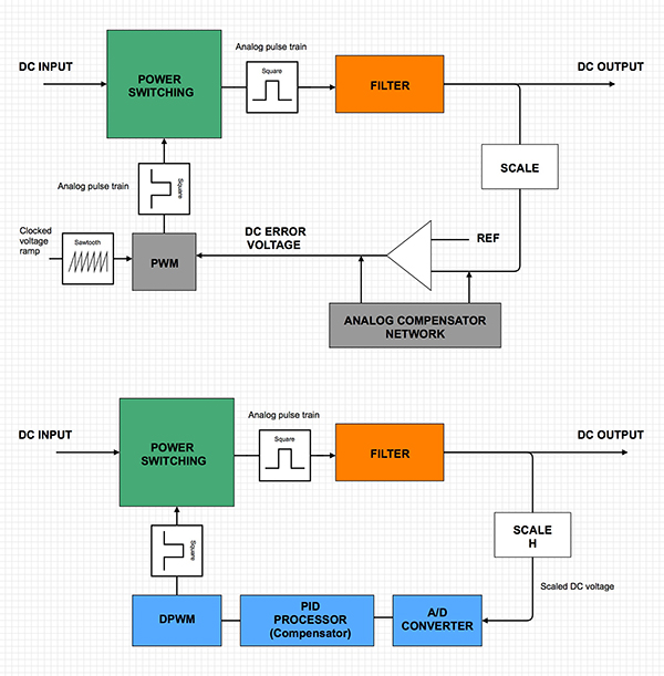
与模拟稳压器相比,数字稳压器由于基准电压精度高,且到比例积分微分 (PID) 处理器的 ADC 输出更新频率快,因此会显著增强输出电压的稳定性和精确度。 图 2 对等效模拟开关稳压器和数字稳压器的框图进行了比较。
(有关数字电源控制的更详细说明,请参阅资料库文章《DC/DC 稳压数字控制的兴起》。)

图 2:模拟开关稳压器(顶部)通常需要设计繁琐的补偿器网络,以确保器件保持稳定,同时提供良好的带宽、相位裕量和增益裕量。 在数字稳压器(底部)中,这项工作则由 PID 处理器完成。 (原理图使用 Digi-Key Scheme-it® 绘制)
虽然数字控制的原理非常易于理解,但实现该技术绝不简单,尽管最近的技术进步已经降低了它的难度。 要保持稳定性和良好的频率响应,以便对负载变化做出快速响应,很大程度上要取决于算法,因为它决定了 PID 处理器如何向控制回路发出命令。
过去,数字控制解决方案需要通用微控制器或 DSP 来执行 PID 处理功能。 遗憾的是,由于此类器件并非专门针对电源设计的,因此它们需要大量的软件编码和固件设计工作。 除了延长项目日程和提高成本之外,这项工作还需要大量编码人才,他们要掌握很多模拟电源设计人员不具备的技能。
新型数字电源模块缓解了编码挑战
现在有多家芯片供应商提供“数字电源模块”。 这些专用器件既能充分利用通过 SMBus 和 PMBus 协议实现的数字配置、控制和监视带来的灵活性,同时又提供专门的数字控制回路命令。 此类器件不会降低通用微控制器和 DSP 的性能,还可缩短冗长的编码周期,从而节省时间。
Texas Instruments 的 UCD3138 数字电源控制器就是此类器件的一个很好的实例。 芯片功能的关键是它的数字控制回路外设。 每个外设都实现了高速数字控制回路,包括专用误差 ADC (EADC)、基于 PID 的双极/双零点数字补偿器,以及具有 250 ps 脉冲宽度分辨率的数字 PWM (DPWM) 输出。 该器件还包含 12 位 267 ksps 通用 ADC,它提供多达 14 个通道、定时器、中断控制、PMBus 和 UART 通信端口。 该器件基于 32 位 ARM® 微控制器,由它执行实时监控,配置外设,并管理通信。 提供三组自主运行的外设,同步向三个独立的控制回路发出命令。
为了最大程度地提高数字电源控制器的运行效率,必须设置 PID 系数,使其适应连接的开关稳压器。 由于 TI 限定将位值分配给特定的预定义寄存器,因此设置数字补偿器非常简单。 UCD3138 控制器不需要复杂的代码开发来持续计算复杂的数学传递函数。
TI 生成了应用报告(请参见参考 2),该报告显示如何使用网络分析仪,生成电源电路的初始电压和电流控制环中的波特图。 然后,我们可对 PID 系数进行更改(请参见图 3),直至双极/双零点数字补偿器为电源提供了需要的带宽、相位裕量和增益裕量。 确定这些系数之后,即可将其编程到 UDC3138 控制器中,从而确保连接的器件始终在最佳条件下运行。

图 3:UCD3138 控制器 PID 结构。 有了正确的输入系数,器件就能够确保连接的开关稳压器保持最佳工作状态。 (来源:Texas Instruments)
Bel Power Solutions 提供的 DM7803G 数字电源控制器也是数字电源模拟的一个实例。 DM7803G 是完全可编程的数字电源管理器,使用 I2C 通信总线,可对最多 32 个负载点 (POL) 稳压器和 4 个独立电源器件进行控制、管理、编程和监控。 对于设计人员而言,一个关键点是 DM7803G 无需外部元器件来进行电源管理,也无需进行 POL 稳压器编程和监控。
我们通过图形用户界面 (GUI),使用所连器件的工作参数,对器件进行编程。 对于每个连接器件,我们可对多个参数进行编程,包括输出电压、电压保护级别、最优电压定位、打开和关闭延迟、压摆率、开关频率和交错(相移)。 与 UCD3138 相似,确定 PID 补偿系数之后,DM7803G 还对连接的 POL 稳压器的反馈补偿回路进行编程。
虽然上述产品可以用作全数字解决方案的基础,仅需少量甚至不需要编码工作,但掌握合理程度的有关控制回路和补偿网络的知识,仍然是帮助您最充分利用数字电源的一大优势。
但是,有些开发人员希望尽可能减少外部元器件,从而加快设计流程,对于他们而言,可以使用多种全集成数字电源解决方案。
一些厂商提供了此类全数字电源解决方案,它们将 PWM 控制、功率级 (MOSFET)、电感器、无源器件与支持 PMBus 的数字电源控制器集成在一起。 此类器件的应用电路非常简单,包括模块本身以及少量输入和输出电容器。
它们的劣势在于价格,这些器件仅面向高端应用,单价达 30 至 50 美元。 典型应用是为面向计算、通信基础设施和工业应用的 ASIC、FPGA、DSP、CPU 和存储器芯片供电。
Intersil 的 ISL8271M 就是此类数字电源模块的一个实例。 这种稳压器模块获取 4.5 至 14 V 的输入电压,生成 0.6 V 至 5 V 的输出,电流最高达到 33 A,能效为 96 %。 Intersil 指定该器件能够在一个时钟周期内响应瞬态负载变化。
图 4 显示了该器件的应用电路,还显示了它的外形尺寸。 数字电压模块通过符合 PMBus 规范的 I2C 通信接口,提供对众多参数进行编程的能力,例如裕量、限流、软启动和故障限值。 PMBus 还可用于监视电压、电流、温度和故障状态。 由于它是全集成式数字电源,因而在出厂前已经设置了控制回路补偿。 该芯片既可用作独立电源,也可作为多稳压器系统的一部分,其中的所有芯片都通过 SMBus 和 PMBus 协议连接。

图 4:Intersil 的 ISL8721M 提供了高度集成的数字电源模块,只需添加几个无源元器件,即可构建完整的数字电源解决方案。 (来源:Intersil)
结论
目前看来,模拟电源仍将拥有一定的市场,因为它们提供了一个简单、廉价、可靠的解决方案。 掌握一些有关控制回路补偿技术的知识仍将是一大优势,但必须基于某一款模块化开关电压转换器产品进行设计,并且遵循制造商的基准电路,才能开发出优秀的解决方案。
另一方面,对于较为复杂的应用,例如需要多个电力线路和电压的工业计算、电信和无线通信系统,模拟解决方案却缺乏灵活性和便利性。 适用模拟稳压器的数字控制可以简化此类系统的设计,而且在产品开发后期,可以轻松添加电压线路。
利用全数字设计,数字监控器不仅能够配置、控制和监控总线连接的电源,监视控制回路补偿,还能进一步简化复杂系统的电源设计,而不会增加成本。
而且数据电源管理元器件的价格仍在继续降低。 此外,随着集成水平的不断提高,现在市面上已经出现了全集成式数字电源模块,只需添加少数几个外部元器件,即可构建出一个全功能电源。 这些趋势必将延续,数字技术很可能会超越模拟技术。
参考文献:
- 《使用数字电源模块的优势》,Intersil,2014 年。
- 《UCD3138 PFC 微调》,Bosheng Sun、Zhong Ye、应用报告 SLUA709,Texas Instruments,2014 年 3 月。











